沙石鎮時光材料如何合成?沙石鎮時光是一款3D風格可以打怪的種田經營類游戲,許多小夥伴不知道材料如何合成,下面小編就帶來沙石鎮時光材料合成方法分享,一起來看看吧。

材料合成流程
初級廢品加工機的合成

熔爐

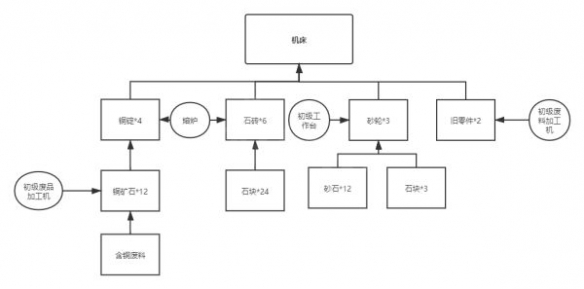
機床

升降吊機

窗戶

以上就是沙石鎮時光材料合成方法分享全部內容,想要了解更多相關攻略的小夥伴可以持續關注遊俠網,這裡每天會為大家推送最新最全的攻略,一定不要錯過哦。
沙石鎮時光材料如何合成?沙石鎮時光是一款3D風格可以打怪的種田經營類游戲,許多小夥伴不知道材料如何合成,下面小編就帶來沙石鎮時光材料合成方法分享,一起來看看吧。

材料合成流程
初級廢品加工機的合成

熔爐

機床

升降吊機

窗戶

以上就是沙石鎮時光材料合成方法分享全部內容,想要了解更多相關攻略的小夥伴可以持續關注遊俠網,這裡每天會為大家推送最新最全的攻略,一定不要錯過哦。